Általános jellemzők
továbbkevesebb| Alkatrész sz. | 61 1313 139 |
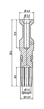
| Csatlakozó kialakítása | Krimpelőérintkező |
| Verzió | érintkező aljzat |
| Csatlakozási keresztmetszet | 2,50 mm² |
| Tömeg (gr) | 3.02 |
| Vámtarifaszám | 85369010 |
Anyag
továbbkevesebb| Érintkező anyaga | CuZn (sárgaréz) |
| Érintkező bevonat | Ag (ezüst) |
| REACH SVHC |
CAS 7439-92-1 (Lead) |
| Jelen lévő PFAS | 5999e107-7ad4-4804-99d3-c5cc0ce2338a |
Osztályozások
továbbkevesebb| eCl@ss 11.1 | 27-46-04-03 |
Biztonsági figyelmeztetések
- The user must take suitable safety precautions to ensure that the connector cannot be accidentally disconnected.

